Centralne ogrzewanie w bloku to kluczowy system, który zapewnia komfort cieplny mieszkańcom. Działa on poprzez rozprowadzanie ciepła wytworzonego w kotłowni do wszystkich lokali w budynku. Ciepło jest generowane w kotle, gdzie spalane jest paliwo, najczęściej gaz, a woda podgrzewana jest do temperatury 70-90 stopni Celsjusza. Następnie, ta rozgrzana woda jest przesyłana przez sieć rur do grzejników, które oddają ciepło do pomieszczeń. W ten sposób, każdy lokal może cieszyć się stabilną temperaturą, co jest szczególnie ważne w chłodniejsze dni.
W artykule przyjrzymy się dokładniej, jak funkcjonuje ten system, jakie są jego podstawowe elementy oraz jak można go optymalizować, aby oszczędzać na kosztach ogrzewania. Zrozumienie mechanizmu centralnego ogrzewania pozwoli mieszkańcom lepiej wykorzystać dostępne zasoby i cieszyć się komfortem cieplnym przez cały sezon grzewczy.Kluczowe wnioski:
- Centralne ogrzewanie w bloku opiera się na kotłowni, która generuje ciepło.
- Woda podgrzewana w kotle jest przesyłana do grzejników, które oddają ciepło do mieszkań.
- System rur odgrywa kluczową rolę w rozprowadzaniu ciepłej wody w budynku.
- Podłączenie do miejskiej sieci ciepłowniczej może przynieść oszczędności i zwiększyć efektywność ogrzewania.
- Regularna konserwacja grzejników i systemu ogrzewania pozwala na lepszą wydajność i niższe koszty eksploatacji.
Jak działa centralne ogrzewanie w bloku? Zrozumienie mechanizmu
Centralne ogrzewanie w bloku to system, który składa się z kilku kluczowych elementów, które współpracują, aby zapewnić komfort cieplny mieszkańcom. W jego skład wchodzi kocioł oraz grzejniki, które odgrywają fundamentalną rolę w procesie ogrzewania. Kocioł generuje ciepło, które następnie jest rozprowadzane do każdego mieszkania za pomocą sieci rur. Dzięki temu wszyscy mieszkańcy mogą cieszyć się stabilną i przyjemną temperaturą w swoich lokalach.
Ważne jest zrozumienie, jak te elementy funkcjonują, aby efektywnie korzystać z systemu. Kocioł, działając na zasadzie spalania paliwa, najczęściej gazu, podgrzewa wodę, która następnie jest przesyłana do grzejników. Grzejniki, zainstalowane w pomieszczeniach, oddają ciepło do wnętrza, co pozwala na utrzymanie komfortowej temperatury. W ten sposób centralne ogrzewanie w bloku działa w sposób ciągły, zapewniając mieszkańcom odpowiedni komfort cieplny.
Jak działa kocioł i jego rola w systemie ogrzewania?
Kocioł jest sercem systemu centralnego ogrzewania. Jego główną funkcją jest podgrzewanie wody do odpowiedniej temperatury, co zazwyczaj oscyluje w granicach 70-90 stopni Celsjusza. Proces ten polega na spalaniu paliwa, które generuje ciepło. W nowoczesnych kotłach można spotkać różne źródła paliwa, takie jak gaz ziemny, olej opałowy, a nawet biomasę. Woda, podgrzana w kotle, jest następnie pompowana do systemu rur, skąd trafia do grzejników w mieszkaniach.
- Kotły gazowe są najczęściej stosowane w budynkach mieszkalnych, ze względu na swoją efektywność i łatwość w obsłudze.
- Kotły olejowe, choć mniej popularne, oferują dobrą wydajność i są używane tam, gdzie dostęp do gazu jest ograniczony.
- Kotły na biomasę stanowią ekologiczną alternatywę, wykorzystując materiał organiczny jako źródło energii.
Co to są grzejniki i jak oddają ciepło do mieszkań?
Grzejniki są kluczowym elementem systemu centralnego ogrzewania w budynkach mieszkalnych. Ich główną funkcją jest oddawanie ciepła do pomieszczeń, co zapewnia komfort cieplny mieszkańcom. Istnieje kilka typów grzejników, w tym grzejniki stalowe, aluminiowe oraz żeliwne, które różnią się między sobą właściwościami termicznymi i estetyką. Grzejniki stalowe są najpopularniejsze ze względu na swoją efektywność oraz stosunkowo niską cenę, podczas gdy grzejniki aluminiowe charakteryzują się lepszym przewodnictwem ciepła i mniejszą wagą.
Grzejniki są zazwyczaj montowane pod oknami, co pozwala na efektywne ogrzewanie pomieszczeń i przeciwdziałanie powstawaniu zimnych stref. Gdy ciepła woda przepływa przez grzejniki, oddaje ciepło do otoczenia, a następnie schładza się i wraca do kotła, gdzie proces się powtarza. Dzięki temu, system centralnego ogrzewania działa w sposób ciągły, zapewniając stałą temperaturę w mieszkaniach, co jest szczególnie istotne w okresie zimowym.

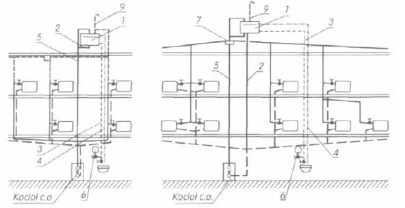
Jak przebiega proces rozprowadzania ciepła w budynku? Zrozum cykl ogrzewania
Proces rozprowadzania ciepła w budynku rozpoczyna się w kotłowni, gdzie woda jest podgrzewana do wysokiej temperatury. Następnie, ta rozgrzana woda jest przesyłana przez system rur do grzejników w poszczególnych mieszkaniach. Woda przepływa przez grzejniki, oddając ciepło do pomieszczeń, a następnie schładza się i wraca do kotła. To tworzy zamknięty cykl, który zapewnia stałe ogrzewanie wszystkich lokali w budynku.
Ważnym elementem tego procesu jest ciśnienie w systemie, które musi być odpowiednio utrzymywane, aby zapewnić efektywny przepływ ciepłej wody. W przypadku spadku ciśnienia, może dojść do problemów z ogrzewaniem, dlatego regularne sprawdzanie i konserwacja systemu są kluczowe. W niektórych nowoczesnych systemach stosuje się również automatyczne zawory, które regulują przepływ wody, co dodatkowo zwiększa efektywność całego układu.Jakie są etapy przesyłania ciepłej wody do mieszkań?
Przesyłanie ciepłej wody do mieszkań odbywa się w kilku kluczowych etapach. Po podgrzaniu wody w kotle, gorąca woda jest pompowana do systemu rur, które prowadzą ją do grzejników w poszczególnych lokalach. W pierwszym etapie, woda przepływa przez główne rury, które rozprowadzają ją po całym budynku. Następnie, woda trafia do rur doprowadzających, które prowadzą ją bezpośrednio do grzejników w każdym mieszkaniu. Po oddaniu ciepła do pomieszczeń, schłodzona woda wraca do kotła, gdzie proces się powtarza, tworząc zamknięty cykl ogrzewania.
Jak działa system rur w centralnym ogrzewaniu?
System rur w centralnym ogrzewaniu odgrywa kluczową rolę w efektywnym przesyłaniu ciepłej wody z kotła do grzejników. Rury wykonane są zazwyczaj z materiałów takich jak stal, miedź lub tworzywa sztuczne, które zapewniają odpowiednią wytrzymałość i odporność na wysokie temperatury. Właściwe zaprojektowanie układu rur jest istotne, aby zminimalizować straty ciepła i zapewnić równomierny przepływ wody. Rury są zazwyczaj umieszczane w ścianach, podłogach lub sufitach, co pozwala na estetyczne ukrycie ich w budynku. Dzięki odpowiedniemu rozplanowaniu, można efektywnie ogrzać każdy lokal, co jest kluczowe dla komfortu mieszkańców.
Jakie są korzyści z podłączenia do miejskiej sieci ciepłowniczej?
Podłączenie do miejskiej sieci ciepłowniczej niesie ze sobą wiele korzyści dla mieszkańców bloków. Przede wszystkim, korzystanie z takiego systemu może znacząco obniżyć koszty ogrzewania, ponieważ ciepło jest produkowane na większą skalę, co pozwala na efektywniejsze wykorzystanie zasobów. Miejskie sieci ciepłownicze często korzystają z tańszych źródeł energii, takich jak odpady czy biogaz, co również wpływa na zmniejszenie wydatków. Dodatkowo, systemy te są projektowane z myślą o wysokiej efektywności energetycznej, co przekłada się na mniejsze straty ciepła podczas transportu.
Inną istotną zaletą jest komfort użytkowania. Mieszkańcy nie muszą martwić się o konserwację kotłów czy dostawę paliwa, co oszczędza czas i wysiłek. Miejskie sieci ciepłownicze są również bardziej niezawodne, co oznacza, że mieszkańcy mogą cieszyć się stałym dostępem do ciepła przez cały sezon grzewczy. Warto także wspomnieć, że korzystanie z miejskiego ogrzewania jest bardziej przyjazne dla środowiska, ponieważ pozwala na centralizację produkcji ciepła i redukcję emisji zanieczyszczeń.
Jakie są alternatywne źródła ciepła w blokach mieszkalnych?
Alternatywne źródła ciepła stają się coraz bardziej popularne w blokach mieszkalnych, oferując mieszkańcom różnorodne opcje ogrzewania. Jednym z najczęściej wybieranych rozwiązań są pompy ciepła, które wykorzystują energię z otoczenia do ogrzewania mieszkań. Pompy te mogą być powietrzne, gruntowe lub wodne, a ich efektywność sprawia, że są ekologiczne i ekonomiczne. Innym rozwiązaniem są systemy solarne, które wykorzystują energię słoneczną do podgrzewania wody. Dzięki odpowiedniemu montażowi paneli słonecznych, mieszkańcy mogą znacznie zmniejszyć koszty ogrzewania.
Warto również wspomnieć o kotłach na biomasę, które stanowią alternatywę dla tradycyjnych systemów grzewczych. Te kotły spalają organiczne materiały, takie jak drewno czy pelet, co sprawia, że są bardziej ekologiczne. W przypadku bloków mieszkalnych, zastosowanie tych alternatywnych źródeł ciepła może przyczynić się do zmniejszenia emisji CO2 oraz obniżenia kosztów ogrzewania, co jest korzystne zarówno dla mieszkańców, jak i dla środowiska.
Jakie praktyczne wskazówki mogą pomóc w zwiększeniu efektywności?
Aby zwiększyć efektywność systemu centralnego ogrzewania w bloku, mieszkańcy mogą zastosować kilka praktycznych strategii. Po pierwsze, warto regularnie sprawdzać i dostosowywać ustawienia termostatów, aby zapewnić optymalną temperaturę w pomieszczeniach. Kolejnym krokiem jest usuwanie przeszkód wokół grzejników, takich jak meble czy zasłony, które mogą blokować przepływ ciepła. Dobrze jest również zainwestować w izolację okien i drzwi, co pomoże zatrzymać ciepło wewnątrz mieszkania. Ostatnią, ale nie mniej ważną wskazówką, jest regularne odpowietrzanie grzejników, aby zapewnić ich prawidłowe działanie i maksymalną wydajność.
Jak dbać o grzejniki i system ogrzewania, aby działał lepiej?
Aby system centralnego ogrzewania działał optymalnie, kluczowe jest jego odpowiednie utrzymanie. Regularne czyszczenie grzejników z kurzu i brudu pozwala na lepsze oddawanie ciepła do pomieszczeń. Warto także przeprowadzać okresowe przeglądy całego systemu, aby zidentyfikować ewentualne problemy, takie jak nieszczelności w rurach. Dobrą praktyką jest także sprawdzanie ciśnienia w systemie, co pozwala na wczesne wykrycie usterek. Na koniec, należy pamiętać o konserwacji kotła, aby zapewnić jego efektywność i bezpieczeństwo użytkowania.
Jak nowoczesne technologie mogą wspierać centralne ogrzewanie?
W dobie rosnącej świadomości ekologicznej oraz postępu technologicznego, nowoczesne technologie mogą znacząco wspierać systemy centralnego ogrzewania w blokach mieszkalnych. Przykładem są inteligentne termostaty, które automatycznie dostosowują temperaturę w zależności od obecności mieszkańców oraz warunków pogodowych, co prowadzi do jeszcze większych oszczędności energii. Dodatkowo, systemy zarządzania energią pozwalają na monitorowanie zużycia ciepła w czasie rzeczywistym, co umożliwia szybką reakcję na ewentualne problemy i optymalizację kosztów ogrzewania.
Warto również zwrócić uwagę na integrację z odnawialnymi źródłami energii, takimi jak panele słoneczne czy pompy ciepła, które mogą współpracować z tradycyjnymi systemami ogrzewania. Dzięki temu mieszkańcy nie tylko zmniejszają swoje rachunki, ale również przyczyniają się do ochrony środowiska. W przyszłości, rozwój technologii takich jak internet rzeczy (IoT) w kontekście ogrzewania może przynieść jeszcze więcej innowacji, umożliwiając jeszcze lepszą kontrolę i efektywność systemów grzewczych w blokach mieszkalnych.




