Najistotniejsze informacje:
- Centralne ogrzewanie dostarcza ciepło do wszystkich pomieszczeń za pomocą jednego źródła.
- Podgrzewanie czynnika grzewczego, najczęściej wody, jest kluczowym procesem.
- Woda cyrkuluje przez instalację, oddając ciepło w grzejnikach lub ogrzewaniu podłogowym.
- Źródła ciepła mogą obejmować kotły gazowe, olejowe oraz pompy ciepła.
- Pomp cyrkulacyjne są niezbędne do efektywnego rozprowadzania ciepła w budynku.
- Metody dystrybucji ciepła obejmują grzejniki oraz ogrzewanie podłogowe, z różnymi zaletami i wadami.
Jak działa centralne ogrzewanie – podstawowe zasady działania
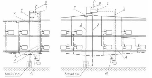
Centralne ogrzewanie to system, który zapewnia efektywne dostarczanie ciepła do wszystkich pomieszczeń w budynku. Działa on na zasadzie podgrzewania czynnika grzewczego, najczęściej wody, która cyrkuluje w instalacji grzewczej, rozprowadzając ciepło. Proces ten jest kluczowy dla komfortu mieszkańców, ponieważ umożliwia utrzymanie optymalnej temperatury w każdym pomieszczeniu. System centralnego ogrzewania może działać na zasadzie naturalnej grawitacji, ale w nowoczesnych rozwiązaniach najczęściej wykorzystuje się pompy cyrkulacyjne, które wspomagają obieg wody.Podgrzana woda przepływa rurami do grzejników lub ogrzewania podłogowego, gdzie oddaje swoje ciepło do otoczenia. Po schłodzeniu wraca do źródła ciepła, aby ponownie zostać ogrzana. Efektywność tego procesu zależy od właściwego zaprojektowania systemu oraz zastosowanych komponentów. Właściwe zarządzanie temperaturą i obiegiem wody jest kluczowe dla maksymalizacji wydajności ogrzewania oraz minimalizacji kosztów eksploatacji.
Zasada działania centralnego ogrzewania w budynku
W centralnym ogrzewaniu kluczowe jest zrozumienie, jak ciepło jest generowane i transportowane przez budynek. Proces rozpoczyna się w źródle ciepła, gdzie woda jest podgrzewana. Następnie, pod wpływem różnicy ciśnień, gorąca woda przemieszcza się do grzejników lub podłogowego systemu ogrzewania. W miarę jak woda oddaje ciepło, staje się chłodniejsza i wraca do kotła lub pompy ciepła, gdzie proces się powtarza. Właściwa cyrkulacja wody jest niezbędna, aby zapewnić równomierne rozprowadzenie ciepła i uniknąć zimnych stref w pomieszczeniach.
Kluczowe elementy systemu centralnego ogrzewania
W systemie centralnego ogrzewania istnieje kilka kluczowych elementów, które współpracują, aby zapewnić efektywne ogrzewanie pomieszczeń. Po pierwsze, kocioł jest sercem systemu, odpowiedzialnym za podgrzewanie czynnika grzewczego, najczęściej wody. Następnie, grzejniki lub ogrzewanie podłogowe rozprowadzają ciepło w pomieszczeniach, oddając je do otoczenia. Pompy cyrkulacyjne są niezbędne do utrzymania obiegu wody, co pozwala na równomierne rozprowadzanie ciepła w całym systemie. Ostatnim, ale nie mniej ważnym elementem są urządzenia regulacyjne, takie jak termostaty, które kontrolują temperaturę i zapewniają komfort użytkowników.
- Kocioł: Centralny element systemu, który podgrzewa wodę lub inny czynnik grzewczy.
- Grzejniki: Odbiorniki ciepła, które oddają energię cieplną do pomieszczeń.
- Ogrzewanie podłogowe: System, który rozprowadza ciepło przez podłogę, zapewniając równomierne ogrzewanie.
- Pompy cyrkulacyjne: Umożliwiają ciągły obieg wody w systemie grzewczym.
- Urządzenia regulacyjne: Termostaty i zawory, które kontrolują temperaturę w poszczególnych pomieszczeniach.
Rodzaje źródeł ciepła w systemach grzewczych
W systemach centralnego ogrzewania można spotkać różne rodzaje źródeł ciepła, które mają swoje unikalne właściwości i zastosowania. Najpopularniejsze z nich to kotły gazowe, które są szeroko stosowane ze względu na swoją efektywność i dostępność. Oprócz kotłów gazowych, coraz częściej wykorzystuje się pompy ciepła, które czerpią energię cieplną z otoczenia, takiego jak powietrze, grunt czy woda. Oba te źródła ciepła mają swoje zalety, ale także ograniczenia, co wpływa na wybór odpowiedniego rozwiązania w zależności od potrzeb użytkowników.
Różnorodność źródeł ciepła w systemach grzewczych pozwala na dostosowanie instalacji do specyficznych wymagań budynku oraz preferencji jego mieszkańców. Kotły olejowe i kotły na paliwa stałe również znajdują zastosowanie, chociaż ich popularność maleje na rzecz bardziej ekologicznych rozwiązań, takich jak pompy ciepła. Wybór odpowiedniego źródła ciepła powinien uwzględniać czynniki takie jak efektywność energetyczna, koszty eksploatacji oraz wpływ na środowisko.
Kocioł gazowy jako popularne źródło ciepła
Kotły gazowe są jednym z najczęściej wybieranych źródeł ciepła w systemach centralnego ogrzewania. Działają na zasadzie spalania gazu, który podgrzewa wodę, a następnie ta gorąca woda jest rozprowadzana do grzejników lub systemu ogrzewania podłogowego. Efektywność kotłów gazowych jest zazwyczaj wysoka, co sprawia, że są one ekonomicznym rozwiązaniem dla wielu gospodarstw domowych. Jednakże, korzystanie z gazu wiąże się z pewnymi wadami, takimi jak konieczność podłączenia do sieci gazowej oraz potencjalne ryzyko związane z wyciekami gazu. Mimo to, kotły gazowe pozostają popularnym wyborem ze względu na swoją niezawodność i stosunkowo niskie koszty eksploatacji.
| Marka | Model | Efektywność (%) | Typ |
|---|---|---|---|
| Vaillant | ecoTEC Plus | 94 | Kondensacyjny |
| Viessmann | Vitodens 200-W | 98 | Kondensacyjny |
| Buderus | Logamax Plus GB172 | 93 | Kondensacyjny |
Pompy ciepła – nowoczesne rozwiązania grzewcze
Pompy ciepła to nowoczesne urządzenia, które wykorzystują energię cieplną z otoczenia, taką jak powietrze, grunt czy woda, aby ogrzewać budynki. Działają na zasadzie pobierania ciepła z jednego źródła i przekazywania go do systemu grzewczego. Dzięki temu, pompy ciepła są ekologiczne i mogą znacząco obniżyć koszty ogrzewania, szczególnie w porównaniu do tradycyjnych kotłów. Ich zalety obejmują nie tylko efektywność energetyczną, ale także możliwość chłodzenia w lecie, co czyni je wszechstronnym rozwiązaniem. W miarę rosnącej świadomości ekologicznej, pompy ciepła zyskują na popularności jako alternatywa dla konwencjonalnych źródeł ciepła.
Czytaj więcej: Jak uruchomić ogrzewanie Trumatic - uniknij problemów z piecem
Rola pomp cyrkulacyjnych w rozprowadzaniu ciepła
Pomp cyrkulacyjnych odgrywają kluczową rolę w systemach centralnego ogrzewania, ponieważ zapewniają efektywne rozprowadzanie ciepła w budynku. Ich głównym zadaniem jest wymuszanie obiegu czynnika grzewczego, co pozwala na szybkie i równomierne dostarczanie ciepłej wody do grzejników i systemów ogrzewania podłogowego. Dzięki zastosowaniu pomp cyrkulacyjnych, systemy grzewcze mogą działać bardziej efektywnie, co przekłada się na niższe koszty eksploatacji oraz lepszy komfort cieplny w pomieszczeniach. Wspomagają one również stabilizację temperatury, eliminując zimne strefy w budynku.
Jak pompy cyrkulacyjne wpływają na efektywność ogrzewania
Pompy cyrkulacyjne mają bezpośredni wpływ na efektywność ogrzewania, ponieważ ich wydajność determinuje, jak skutecznie ciepło jest rozprowadzane w systemie. Im lepsza jest jakość pompy i jej zdolność do utrzymania odpowiedniego ciśnienia, tym bardziej efektywnie działa cały system grzewczy. Wysokiej jakości pompy cyrkulacyjne mogą znacznie zmniejszyć zużycie energii, co prowadzi do oszczędności na rachunkach za ogrzewanie. Odpowiednia regulacja i konserwacja pomp cyrkulacyjnych są kluczowe dla utrzymania ich wydajności i zapewnienia optymalnego działania systemu grzewczego.
- Pompa Grundfos UPS: Wysoka wydajność, cicha praca, idealna do systemów grzewczych.
- Pompa Wilo Star-Z: Energooszczędna, z możliwością regulacji wydajności w zależności od potrzeb.
- Pompa DAB E.SYBOX: Innowacyjne rozwiązanie z wbudowanym zbiornikiem, zapewniające stabilne ciśnienie.

Metody dystrybucji ciepła w centralnym ogrzewaniu
W systemach centralnego ogrzewania istnieje kilka metod dystrybucji ciepła, z których każda ma swoje zalety i wady. Grzejniki to najpopularniejsza metoda, która szybko ogrzewa pomieszczenia, jednak może prowadzić do nierównomiernego rozkładu temperatury. Woda przepływa przez grzejniki, oddając ciepło do otoczenia, co sprawia, że są one efektywne w krótkim czasie. Z drugiej strony, ogrzewanie podłogowe zapewnia równomierne rozprowadzenie ciepła, co przekłada się na komfort użytkowników. Ta metoda działa na zasadzie podgrzewania powierzchni podłogi, co sprawia, że temperatura w pomieszczeniu jest bardziej stabilna, ale wymaga dłuższego czasu na nagrzanie.
Wybór metody dystrybucji ciepła powinien być dostosowany do indywidualnych potrzeb budynku oraz preferencji mieszkańców. Grzejniki są łatwe w instalacji i mogą być stosunkowo tańsze w zakupie, ale ich efektywność może być ograniczona w przypadku dużych przestrzeni. Ogrzewanie podłogowe, mimo wyższych kosztów instalacji, może przynieść długoterminowe oszczędności energetyczne i komfort cieplny. Ostateczna decyzja powinna uwzględniać zarówno aspekty ekonomiczne, jak i komfortowe.
Grzejniki vs. ogrzewanie podłogowe – co wybrać?
Porównując grzejniki i ogrzewanie podłogowe, warto zwrócić uwagę na ich zalety i wady. Grzejniki szybko nagrzewają pomieszczenia i są łatwe w montażu, co czyni je popularnym wyborem w wielu domach. Z drugiej strony, ogrzewanie podłogowe zapewnia bardziej równomierne rozkłady temperatury, co zwiększa komfort użytkowania. Jednak jego instalacja jest bardziej skomplikowana i kosztowna. Ostateczny wybór powinien zależeć od specyfiki budynku oraz oczekiwań mieszkańców.
| Cecha | Grzejniki | Ogrzewanie podłogowe |
|---|---|---|
| Czas nagrzewania | Szybkie | Wolniejsze |
| Komfort cieplny | Mniej równomierne | Bardziej równomierne |
| Koszt instalacji | Niższy | Wyższy |
| Estetyka | Widoczne | Ukryte |
Nowoczesne technologie w centralnym ogrzewaniu i ich przyszłość
W miarę jak technologia rozwija się, nowoczesne rozwiązania w centralnym ogrzewaniu stają się coraz bardziej popularne. Wykorzystanie inteligentnych systemów zarządzania pozwala na automatyzację i optymalizację pracy całego systemu grzewczego. Dzięki aplikacjom mobilnym i inteligentnym termostatom, użytkownicy mogą zdalnie kontrolować temperaturę w swoich domach, co nie tylko zwiększa komfort, ale również przyczynia się do znacznych oszczędności energetycznych. W przyszłości, integracja systemów ogrzewania z odnawialnymi źródłami energii, takimi jak panele słoneczne, może jeszcze bardziej zredukować koszty eksploatacji i wpłynąć na poprawę efektywności energetycznej budynków.
Co więcej, technologie smart home mogą być zastosowane do monitorowania i analizy zużycia energii, co umożliwia użytkownikom lepsze zrozumienie ich potrzeb grzewczych. W połączeniu z rozwojem pomp ciepła i systemów ogrzewania podłogowego, przyszłość centralnego ogrzewania wydaje się obiecująca. Warto zainwestować w te innowacje, aby nie tylko poprawić komfort życia, ale także przyczynić się do ochrony środowiska.




